委員会で性能確認を受けた製品に限定されます。
ガラス繊維シート断熱材裏張/めっき鋼板製折板屋根
認定番号及び名称等は表1の通りです。
| 認定番号 | 名 称 | JIS折板分類 | 鋼板厚さ | 許容梁間 | 鋼板種類 |
|---|---|---|---|---|---|
| FP030RF-0925-1 | ガラス繊維シート断熱材裏張/めっき鋼板製折板屋根 | H0930(1山) | 0.6~1.2 | 3,500以下 | 別記載 |
*JIS折板分類は、JIS A 6514を参照のこと
適用できる裏打材は、表2の断熱亜鉛鉄板委員会の認定品です。
| 裏打材 | 製品名 | 厚さ(㎜) |
|---|---|---|
| ガラス繊維系断熱材 | スーパーフェルトンⅢ(ニチアス) | 5〜10 |
| フネンルーフG2(日本グラスファイバー工業) | ||
| NSフネンGF(中川産業) |
使用に際しては、以下の事項を確認下さい。
①折板の山高・山ピッチ・形状
②認定により適用できる適用鋼板厚さ及び最大許容梁間
③折板に使用できる鋼板の種類及び最大塗膜厚及び質量(重量)
④認定により適用できるタイトフレームの材質・形状・幅・厚み(2.3〜4.5㎜)
⑤裏打材(断熱亜鉛鉄板委員会認定品)
| JIS A 6514を参照した 分類表 |
山ピッチ記号 | 20 | 25 | 30 | 33 | |
| 山ピッチ寸法 | 190以上230未満 | 230以上270未満 | 270以上310未満 | 310以上350未満 | ||
| 山高記号 | 山高寸法 | |||||
| 07 | 60以上 80未満 | |||||
| 09 | 80以上 100未満 | H0930 | ||||
![]()
認定の内容と適用条件は以下の通りです。
①鋼板の種類及び規格(鋼板は厚さ0.6〜1.2㎜で塗覆装(化粧)あり及びなしの物)
②化粧の仕様
表・裏面の合計:280±28μm以下、有機質量326±33g/㎡以下
③折板の仕様
折板の仕様は、表3および図の通りです。
| 適用認定番号 | 折板の働き幅 | 山高さ | 上底・下底・他 |
|---|---|---|---|
| FP030RF-0925-1 | 300±20 | 86~95 (+5, -0) |
詳細形状は、認定書による |
![]()
①タイトフレーム
タイトフレームに使用できる鋼板の種類及び規格は、以下の通りです。
タイトフレームの寸法及び形状は、表4によります。
| 適用認定番号 | 鋼板厚さ | 幅 | 山高 | 形状・その他 |
|---|---|---|---|---|
| FP030RF-0925-1 | 2.3~4.5 | 30~50 | A 95~104 | |
| B 93~107 |
②ボルト・ナット等(材料及び規格)
ボルト・ナット等の材料及び規格は、表5によります。
| 適用認定番号 | タイトフレーム | ボルト・ナット(鋼製・ミリメートル規格に限る) |
|---|---|---|
| FP030RF-0925-1 | A・Bタイプ 共通 | M8以上×L16以上 |
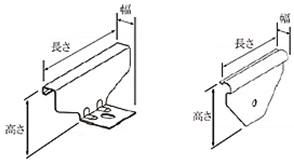
③吊り子
タイトフレームと吊り子の組み合わせは、表6によります。
| 適用認定番号 | FP030RF-0925-1 |
|---|
吊り子に使用する鋼板の種類及び規格
Aタイプの鋼板厚さは1.0~3.2㎜、Bタイプの鋼板厚さは1.0~1.6㎜です。

| タイトフレーム | 吊り子 | |||||
|---|---|---|---|---|---|---|
| 形状 | 高さ | 幅 | 長さ | 厚さ | ||
| A | ![]() |
![]() |
35~68 | 37~75 | 60~200 | 1.0~3.2 |
![]() |
||||||
![]() |
||||||
![]() |
||||||
![]() |
||||||
| B | ![]() |
![]() |
66~68 | 11~20 | 60~150 | 1.0~1.6 |
![]() |
||||||
④母屋とタイトフレームとの接合(溶接・ねじ留め)
母屋とタイトフレームの接合は、表7によります。
| 認定番号 | 溶接長さ (1箇所当たり) |
溶接箇所数 (1谷当たり) |
ねじ寸法 | 留め付け本数 (1山当たり) |
|---|---|---|---|---|
| FP030RF-0925-1 | 20以上 | 4箇所 | - | - |
施工方法は以下によります。
FP030RF-0925-1 (H0930) の施工方法
①タイトフレームの取り付け
折板屋根を施工する母屋芯相互の間隔が3,500㎜以下であることを確認する。
タイトフレームを墨出し線に合わせて母屋の直上に配置し、アーク溶接で母屋に取付ける。溶接位置はタイトフレームの谷部とし、溶接長さは1箇所当たり20㎜以上で、溶接は1谷当たり4箇所(谷部の両側×2箇所)とする。
②折板の取り付け
吊り子をタイトフレームにボルト(M8㎜以上×L16㎜以上)・ナットで固定する。
折板をタイトフレームの上に配置し、隣り合う折板相互の馳部を吊り子のツメの部分に差し込み、両者の馳部を専用の馳締機でかしめ、吊り子を介して、折板をタイトフレームに取付ける。
折板の長さ方向の相互の馳部は、専用の馳締機でかしめて接合する。
③母屋の耐火被覆
母屋に1時間の耐火被覆を施す。ただし、平成12年建設省告示第1399号第4号三号二の規定に該当する場合には、上記の耐火被覆は必要としない。